·设为首页收藏本站📧邮箱修改🎁免费下载专区📒收藏夹📱AI全功能
12
返回列表 发布新帖

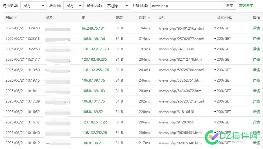
分享一些肉鸡IP(恶意IP),可以直接导入宝塔防火墙!

评论15

婷姐Lv.8 发表于 2025-6-21 15:48:42 | 查看全部
你发的截图都是优刻云的ip,没见到张家口的啊
我要说一句 收起回复
拾光Lv.8 发表于 2025-6-21 15:48:52 | 查看全部
是有很多垃圾人常攻击网站。
我要说一句 收起回复
CrystαlLv.8 发表于 2025-6-21 15:49:17 | 查看全部
谢谢分享
我要说一句 收起回复
拾光Lv.8 发表于 2025-6-21 15:49:54 | 查看全部
我也导入到自己的服务器
我要说一句 收起回复
婷姐Lv.8 发表于 2025-6-21 15:50:21 | 查看全部
分享一些肉鸡IP(恶意IP),可以直接导入宝塔防火墙! 不停的自动封IP,还有远远不断!,,,如果不做处理的话,这些垃圾是真的影响服务器的!
我要说一句 收起回复
拾光Lv.8 发表于 2025-6-21 15:50:28 | 查看全部
+ 分享一些肉鸡IP(恶意IP),可以直接导入宝塔防火墙! +1
我要说一句 收起回复

回复

 懒得打字嘛,点击右侧快捷回复【查看最新发布】   【应用商城享更多资源】
您需要登录后才可以回帖 登录 | 立即注册

本版积分规则

关闭

站长推荐上一条 /1 下一条

最新热评 加载中...
AI智能体
投诉/建议联系

discuzaddons@vip.qq.com

未经授权禁止转载,复制和建立镜像,
如有违反,按照公告处理!!!
  • 联系QQ客服
  • 添加微信客服

联系DZ插件网微信客服|最近更新|Archiver|手机版|小黑屋|DZ插件网! ( 鄂ICP备20010621号-1 )|网站地图 知道创宇云防御

您的IP:216.73.216.30, 36.158.231.58,GMT+8, 2026-2-8 12:25 , Processed in 2.015824 second(s), 95 queries , Gzip On, Redis On.

Powered by Discuz! X5.1 Licensed

© 2001-2026 Discuz! Team.

关灯 在本版发帖
扫一扫添加微信客服
QQ客服返回顶部
快速回复 返回顶部 返回列表